Patent information:

Patent:Utility 930,141
Patented:August 3, 1909
Applied:September 6, 1907
Title:Automatic Safety Device
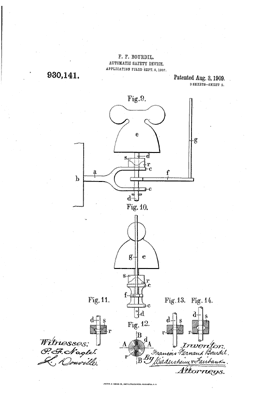
Description:A rotating metal member that catches a broken wire and shorts out the line effectively turning off the power before the line drops to the ground where it could have harmed someone coming in contact with the broken wire.
Category:Miscellaneous
Assigned to: 

Patentee Information:

BOURDIL, Francois Fernand Paris,, France

Class and subclass information:

Class:200ELECTRICITY: CIRCUIT MAKERS AND BREAKERS
Subclass:79SUSPENDED-WIRE CONTROLLED;

Known specimens:

None known

Drawings:

Drawing page 1

Page 1

Drawing page 2

Page 2

Drawing page 3

Page 3