Patent information:
| Patent: | Utility 951,411 |
| Patented: | March 8, 1910 |
| Applied: | March 12, 1906 |
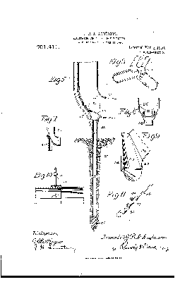
| Title: | Lightning Protector for Buildings |
| Description: | Lightning rod system using a hollow metal crest with multiple points and connected to gutters |
| Category: | Lightning Rod Crest |
| Assigned to: | |
Patentee Information:
Class and subclass information:
| Class: | 174 | ELECTRICITY: CONDUCTORS AND INSULATORS |
| Subclass: | 2 | LIGHTNING PROTECTION; |
| Class: | 174 | ELECTRICITY: CONDUCTORS AND INSULATORS |
| Subclass: | 4R | AIR TERMINALS; |
| Class: | 174 | ELECTRICITY: CONDUCTORS AND INSULATORS |
| Subclass: | 7 | EARTH GROUNDS; Driving type; |
Known specimens:
|
Drawings:
Page 1 |
Page 2 |
|